alum@furnitura-holding.ru
Equipment and Accessories for Modern High-Effective Technology of Ozone Therapy and Ozone prophylaxis
А Л Ю М И Н И Е В Ы Й
П Р О Ф И Л Ь
Equipment and Accessories for Modern High-Effective Technology of Ozone Therapy and Ozone prophylaxis
Алюминиевый профиль для шкафов-купе
Алюминиевый фасадный профиль
Алюминиевый пристеночный плинтус
Фурнитура
для шкафа-купе
Профиль для крепления стеновых панелей
Конструкционный алюминиевый профиль
Алюминиевый профиль для шкафов-купе
Алюминиевый фасадный профиль
Алюминиевый пристеночный плинтус
Фурнитура
для шкафа-купе
Профиль для крепления стеновых панелей
Конструкционный алюминиевый профиль
Услуги
Услуги
Профиль L 19.25-10
Профиль L 24.00
Профиль К 01.25-25
Профиль К 02.25-32,5
Профиль К 04.25-40
Профиль К 05.25-40
Профиль К 07.25-80
Профиль К 08.25-120
Профиль К 11.32,5-32,5
Профиль К 14.40-40
Профиль К 15.40-40
Сборщикам
Инструкции
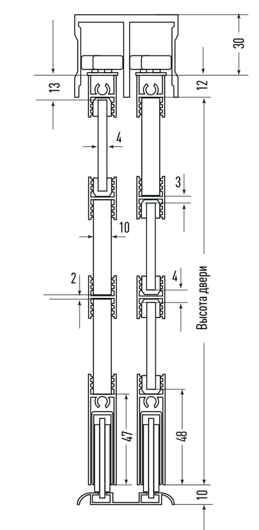
Регулировочный винт
Верхняя направляющая
Верхний ролик
Уплотнитель
Зеркало или стекло 4 мм
Полотно из МДФ 8 мм
Шлегель
Уплотнитель
Вертикальный профиль С
Сборочный винт
Полотно из ДСП 10 мм
Нижний горизонтальный профиль
Нижние ролики
Нижняя направляющая
1
2
3
4
5
6
7
8
9
10
11
12
13
14
15
16
Верхний горизонтальный профиль
Межсекционный профиль
Каталог
Алюминиевый профиль для шкафов-купе
Алюминиевый профиль для шкафов-купе
Алюминиевый фасадный профиль
Алюминиевый фасадный профиль
Алюминиевый пристеночный плинтус
Алюминиевый пристеночный плинтус
Фурнитура для шкафа-купе
Фурнитура для шкафа-купе
Профиль для крепления стеновых панелей
Профиль для крепления стеновых панелей
Конструкционный алюминиевый профиль
Конструкционный алюминиевый профиль
Ещё немного о нас
Наша цель - это погружение в нюансы, в задачи, стоящие перед любой торгующей, либо производственной компании-партнера.
Мы стремимся быть лучшими, что означает: сотрудники гордятся своими достижениями, нам отдают предпочтения клиенты, нас уважают конкуренты, нашу продукцию любят покупатели. Мы определяем следующие цели для нашей компании: стабильное получение прибыли в долгосрочной перспективе, создание новых направлений бизнеса мебельного рынка.
Мы создаем крепкие отношения и хотим стать самым эффективным партнерским бизнесом в сфере алюминиевого профиля и фурнитуры для шкафов купе, алюминиевого фасадного профиля и чертежного профиля для офисных перегородок России. Все наши клиенты и представители — разные, со своими бизнес-устоями и маркетинговыми традициями, но вы можете быть уверены в настоящем индивидуальном подходе.
У вас еще остались вопросы?
Мы готовы ответить на любой ваш вопрос
Нажимая кнопку "Отправить" вы даете соглашение на обработку своих персональных данных